Перейти к публикации

Navajo

Партнёр форума
  • Публикаций

    1 880
  • Зарегистрирован

  • Посещение

Все публикации пользователя Navajo

  1. Коллеги, также, кому интересно, на сайте "Роспатент" в открытом доступе есть подробная информация. Номер патента на ноже Серый Туман указан. Помимо этого, там лежат и другие патенты А.И. Уракова. Чертежи оттуда же:
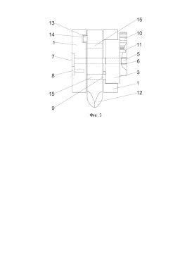
  2. На клинке в корневой части имеем два отверстия, сверху и снизу от осевого отверстия. В свою очередь, в плашке находится выступающий штифт, который Ураков называет "боевой упор". Соответственно, данный штифт заходит либо в верхнее либо в нижнее отверстие, таким образом блокируя клинок в открытом или закрытом положении. При разблокировке замка флажком, плашки расходятся в стороны, т.к. они подпружинены, и в свободном состоянии не параллельны друг другу, а немного расходятся в стороны. Штифт в этот момент выходит из отверстия на клинке и клином может перемещаться на оси. Соответственно, при блокировке замка, плашки сходятся и боевой упор заходит в одно или второе отверстие на клинке. Штифт, который находится в самом клинке- это стопроный штифт, который упирается в плашку в открытом и закрытом состоянии. В зависимости от модели этот штифт может быть скрытым или наружным. Скрытый работает по выборке-дорожке внутри плашки. То есть ножи Уракова имеют фактически три точки фиксации в открытом (да и закрытом) положении: ось, боевой упор, стопорный упор. Плюс к этому клинок зажат в поперечной плоскости плашками, которые в свою очередь зажаты замком-флажком. Все детали стальные и калёные так же, как и клинок, на ~60 HRc. (Проверено лично, когда делали накладки из рога на один из ножей, ни одно сверло не взяло плашки, пришлось клеить рог) В конструкции нет ни титана, ни алюминия. К слову, резьба на осевом винте оригинальная, сделанная Ураковым, т.к. имеет очень большой шаг, за счёт чего флажок и преодолевает большой путь вверх-вниз при небольшом угле поворота. Ну и прочность резьба с таким крупным шагом играет не последнюю роль. Это суть работы стандартного варианта замка. В Сером Тумане принцип тот же, но роль подвижной части с боевым упором выполняет не целая плашка, а отдельная пружина, которая является частью плашки.
  3. Попробую завтра ещё пару фото сделать, изнутри, так сказать..
  4. Принцип то такой же, как на всех других ножах Уракова, только вместо подпружиненной целиком плашки, подпружинена её часть, в которой находится стопорный штифт и которая обеспечивает блокировку клинка в открытом и закрытом состоянии... Лучше будет вживую показать.
  5. Серый Туман в разобранном виде. Виден принцип работы нового замка.
  6. Коллеги, доброго вечера. Продолжу пополнять тему. Получил на днях посылку напрямую от Анатолия Ивановича с тремя интересными изделиями: 1) Нож R380, посвящённый боевому походу Александра Ивановича Марине́ско, который, будучи командиром подводной лодки С-13, 30 января 1945 года произвёл потопление плавказармы военно-морского флота Германии (бывшего лайнера) «Вильгельм Густлофф». В ряде советских и современных российских публикаций уничтожение «Вильгельма Густлоффа» именуется «атакой века», а самого Александра Маринеско в них называют «подводником № 1». Собственно, не так давно А.И. говорил, что модель R380 ему давно что-то напоминает, но он долго не мог понять, что. Оказалось, что напоминает подводную лодку. Модель ножа хорошо известна, в том числе, описывалась в этой теме, поэтому ТТХ приводить особого смысла нет. Отмечу только, что осевой винт, контрвинт и оицевой элемент затворного флажка изготовлены из корабельной бронзы; на последнем выполнен якорь. На клинке соответствующая символика. Остальное традиционно, сталь 440С, накладки орех. Чехол кожа, пукля бронзовая. 2) Нож Панчо Вилья, номер 2600, посвящённый пулемёту Гочкисс (фр. Hotchkiss), модели 1914г. , который получил широкое применение в большом количестве стран. Закупался в т.ч. и в Российской Империи. В данном же случае отсылка сделана на активное применение данного пулемёта во время Мексиканской революции. Что, собственно, и коррелирует с названием ножа (Хосе́ Дороте́о Ара́нго Ара́мбула, он же Панчо Вилья- один из революционных генералов и лидеров крестьянских повстанцев во время Мексиканской революции). Модель ножа также известная, ТТХ неоднократно выкладывались ранее в этой теме. Материалы стандартные- 440С, орех. Чехол кожа. 3) Нож Серый Туман. В своём роде уникальный нож. Изготовлено не более 4х штук. Дальнейшее изготовление пока не планируется. Интересен тем, что в нём применена модифицированная версия замка. Роль пружины выполняет не одна из плашек целиком, её часть. В общем то, цель изготовления заключалась в получении патента на новый замок. Поэтому и название такое, т.к. дальнейшая судьба этой модели пока не совсем ясна. Также примечателен расположением дола на обухе. Клинок 440С, накладки карбон. Чехол кожа.
  7. На нижнем фото у него как будто рекурва небольшая. Обман зрения?
  8. Проектный пиратский Наруш приехал
  9. Приехал J.Roger #33 MagnaCut, подшипники За шпенёк флиппует лихо, но можно и взмахом открывать. В руке сидит уверенно. Клинок 100мм Общая 230мм
  10. Navajo

    Юрий Якушкин

    Доброго вечера, коллеги. Порадовал мастер новой шикарной работой. Небольшой нож по мотивам USN MK1 Общая 223мм Клинок 115мм Обух 5мм На клинке RWL-34, продольный сатин Остальные материалы: рог, бронза, латунь, титан, микарта. Ножны кожа. Детали на фото. Также сделал фото с двумя другими работами Юрия по моим дизайнам: ЛИСТ и Медвежатник. Можно видеть общие черты в плане материалов рукояти (рог, микарта, латунь) Как всегда, изделие выполнено на высшем уровне.
  11. Коллектив
  12. Navajo

    Chris Reeve Knives

  13. Sebenza 31, MagnaCut, морёный дуб.
  14. Зацепили меня свежие работы Шамиля, нравятся. Вот ещё несколько. Также 440С. Накладки из стабилизированной древесины (на первом фото сверху вниз): Граб Шпальт берёзы Акация В живую древесина потрясающе выглядит, постарался на фото отразить, как смог.
  15. Navajo

    Chris Reeve Knives

    Замер на микрометре дистанционной втулки и клинка с шайбами:
  16. Navajo

    Chris Reeve Knives

    Если аккуратно и не спеша делать, то всё нормально получается. У меня же получилось, механика работает идеально. Ну какая-никакая сноровка нужна, да. Люфта нет, клинок падает под своим весом и стоит строго по центру между плашками. Собственно, я и написал, что шлифовать нужно очень аккуратно, понемногу, только на твёрдой поверхности и движениями восьмёркой... Там, конечно, мизерные допуски, но не до такой же степени)
  17. Navajo

    Chris Reeve Knives

    Нет, не замечал, там же смазка родная, она густая. Наоборот, клинок как по маслу ходит. Легко и плавно.
  18. Navajo

    Chris Reeve Knives

    Приодел слегка 31-ю и немного шлифанул (и, разумеется, полирнул) шайбы, что бы клинок под своим весом падал, а то туговато ходил с новья. Тут главное, не перестараться, не сошлифовать с шайб лишнего, что бы поперечный люфт не поймать. Надо, что бы толщина клинка с двумя шайбами максимально точно совпала с шириной дистанционной втулки. Тогда всё начинает работать как надо. По чуть чуть шлифовал и примерял клинок (в собранные воедино плашки), пока не получил приемлемый результат. Шайбы шлифуются на самой мелкой шкурке, какая есть, потом доводятся на коже с ГОИ. Всё делается на ровной твёрдой поверхности- шкурка лежит на стекле, кожа на деревянном бруске. Все действия по шлифовке и полировке шайб делаются движением восьмёркой, для равномерного воздействия на плоскость шайбы (рекомендация производителя). Смазку, конечно, заложил, новую, оригинальную. Новая плашка + тыльник с отверстием под темляк. Тямляк я, конечно, использовать не буду, т.к. пользуюсь ременным чехлом, но пусть будет деталька, для антуража.
  19. Navajo

    Красивые картинки ножей.

  20. Забрал свои несколько экземпляров. Книга шикарная. Фундаментальная работа. Объём материала, в т.ч. фотографий грандиозный; и уникальный, в сети не найти. Кто не успел, берите обязательно, пока ещё есть книги, это того стоит, несомненно. Андрею Артуровичу искреннее спасибо и поздравления с выходом книги!
×
×
  • Создать...

Важная информация

Чтобы сделать этот веб-сайт лучше, мы разместили cookies на вашем устройстве. Вы можете изменить свои настройки cookies, в противном случае мы будем считать, что вы согласны с этим.